Ferrari Registra Patente de Motores V12 Menores e Mais Potentes
A Ferrari surpreende o setor automotivo com o registro de uma patente inovadora: um novo motor V12 com pistões ovais. Essa tecnologia promete revolucionar o design de motores de combustão interna, aprimorando a eficiência, aumentando a potência e abrindo caminho para a integração de sistemas híbridos sem comprometer o desempenho e a identidade sonora característicos da marca italiana. A notícia, divulgada após a descoberta da patente no Escritório Europeu de Patentes pelo site AutoGuide, já está gerando grande expectativa e discussões sobre o futuro dos motores de alto desempenho.

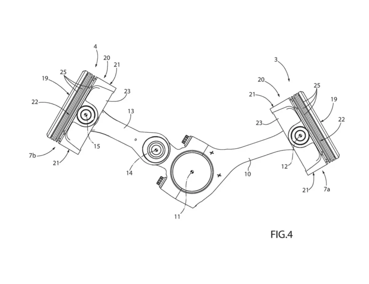
Pistões em Formato de “Estádio”
Abandonando o formato circular tradicional, a Ferrari propõe pistões com um design alongado, descrito como um “formato de estádio” – similar a um retângulo com extremidades arredondadas. Essa configuração permite uma disposição mais eficiente dentro do motor, com a parte mais longa do pistão posicionada do lado externo do bloco em direção ao centro do “V”. Essa otimização reduz o comprimento total do motor, facilitando a incorporação de componentes híbridos sem aumentar excessivamente o tamanho do trem de força.
A principal vantagem desse novo design é a otimização do espaço, especialmente crucial em modelos com motores montados na parte central do veículo. Ao aproximar os cilindros, a Ferrari consegue reduzir o tamanho do motor, mantendo ou até mesmo aumentando o seu desempenho. A patente também detalha um novo design para as bielas, que se conectam ao virabrequim de forma interligada através de uma junta flexível, permitindo um movimento sincronizado entre os pistões e otimizando ainda mais o funcionamento do motor.

Rumo à Hibridização sem Perder a Essência
Diante da crescente pressão por veículos mais eficientes e da necessidade de cumprir regulamentações de emissão cada vez mais exigentes, a Ferrari busca alternativas para adaptar seus icônicos motores V12 ao futuro da mobilidade. A inovação dos pistões ovais representa uma possível estratégia para conciliar a tradição da marca em oferecer alta performance e sonoridade característica com a crescente demanda por sistemas de propulsão híbridos. Essa abordagem pode abrir caminho para equipar futuros modelos esportivos com motores V12 híbridos mais compactos e eficientes, mantendo o apelo emocional e o avanço tecnológico que definem os carros da Ferrari.
Além disso, a iniciativa da italiana pode ser vista como uma resposta às discussões sobre a escolha de motores menores em alguns modelos, como o hipercarro F80, e demonstra um foco em otimizar o desempenho dos modelos já existentes com motores V12 dianteiros, como o 12Cilindri e o Purosangue, antecipando a possível necessidade de incorporação de tecnologias híbridas nesses veículos no futuro.

Antecedentes e Diferenciais
A ideia de pistões ovais não é inédita. A Honda, por exemplo, utilizou um motor V4 com pistões ovais na moto de corrida NR500 nos anos 70. No entanto, a abordagem da Ferrari se diferencia pelo foco na produção de motores de alta potência para uso cotidiano. Além disso, o design da Ferrari, com os pistões posicionados perpendicularmente ao virabrequim, promete um controle mais preciso da combustão e um melhor aproveitamento do espaço.
Ainda não há confirmação oficial sobre a aplicação dessa tecnologia em modelos de produção.
Veja também:
- Blindagem de Veículos: Tudo que Você Precisa Saber
- Brasil Estuda Elevar Mistura de Etanol na Gasolina para 30%
- Novo Porsche 911 Carrera 992.2 Chega ao Brasil


